此外,山西银行第五大股东山西聚源煤化有限公司也被法院列入被执行人。该公司2025年8月份被宁波市中级人民法院立案执行,被执行总金额约1.10亿元。

图片来源:企查查
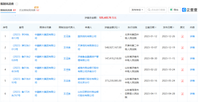
上述山西银行第四大股东中融新大集团更是多次沦为“失信被执行人”,该公司及法定代表人王某涛被各地法院61次限制高消费,涉案总金额高达52.56亿元。
个人经营性贷款不良率突破40%
2025年以来,山西银行公开披露的财务数据寥寥无几。2025年10月31日,该行发布的2025年三季度信披报告称,“本行拟定于三季度披露的信息于四季度一并披露。”
据山西银行2025年二季度信披报告显示,该行资本充足率“告急”。截至2025年6月末,该行核心一级资本充足率为9.90%,一级资本充足率为9.90%,资本充足率为10.51%。其中,山西银行资本充足率已迫近10.50%的监管“红线”,几乎踩线最低监管标准。
截至目前,山西银行最新公布的财务数据依旧停留在2024年。年报披露,山西银行2024年实现营业收入31.68亿元,较2023年同期31.49亿元增加0.20亿元,增幅为0.62%;实现营业利润0.80亿元,较2023年同期8.64亿元减少7.83亿元,同比下降90.68%;实现净利润0.51亿元,较2023年同期8.31亿元减少7.80亿元,同比下降93.89%。
伴随着净利润暴跌九成,山西银行2024年的平均资产收益率也骤降至0.01%,距离同期行业平均水平0.63%差距较大。与此同时,该行的不良贷款和逾期贷款余额大幅增加,资产质量下滑趋势明显。

图片来源:山西银行2025年跟踪评级报告
数据显示,截至2024年末,山西银行的不良贷款率升至2.50%,较2023年末的1.74%增加76个基点;不良贷款余额为43.69亿元,较2023年末的30.02亿元增加13.67亿元,增幅超过45%。
同期,山西银行的逾期贷款率升至4.23%,较2023年末的3.48%增加75个基点;逾期贷款余额为74.03亿元,较2023年末的60.05亿元增加13.98亿元,增幅超过23%。
评级报告披露,山西银行房地产和建筑行业不良贷款和关注类贷款占比较高,该行2024年房地产业和建筑业贷款占比分别为5.19%和5.60%;不良贷款率分别为3.08%和10.11%;关注类贷款占比分别为40.67%和22.70%。
“山西银行承接的4家村镇银行部分个人经营性贷款及早期通过互联网渠道投放的贷款亦形成不良贷款,在一定程度上加重了山西银行信用风险管理压力。截至2024年末,该行个人经营性贷款不良率为42.35%。”评级报告披露,截至2024年末,山西银行借新还旧规模为56.47亿元,其中关注类40.61亿元,其余纳入不良类;展期贷款余额15.44亿元。该行关注类贷款占贷款总额比重仍较高,同时借新还旧及展期类贷款规模较大,信贷资产质量面临下行压力。
数据显示,2022年~2024年,山西银行的成本收入比分别为81.54%、80.87%、79.56%,远高于商业银行的成本收入比不应超过45%的监管建议值。
(来源:城市金融财报观新闻)