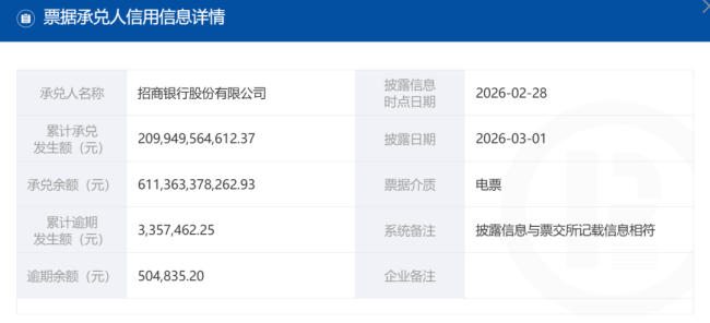
日前,招商银行出现票据逾期。截至2026年2月28日,该行票据逾期金额为50.48万元,累计逾期发生额为335.75万元。
记者了解到,除票据逾期外,招商银行多家分支机构被法院列入被执行人名单,对该行信誉造成负面影响。该行大连分行甚至发生一起执行标的仅为50元的终本执行案件,这意味着法院“已穷尽财产调查措施,未发现被执行人有可供执行的财产或者发现的财产不能处置”。
此外,招商银行无锡分行因一起3.5亿元的骗贷大案被诉上法庭。经审查,涉案《委托定向投资协议》和《投资指令》上加盖的公章为伪造,却顺利通过招商银行无锡分行的审核流程。涉案相关方发布公告称,“招商银行无锡分行明确该投资系由该行决策,投资安全及任何风险收益均由该行负责。”
多家机构成被执行人

图片来源:上海票据交易所
据上海票据交易所网站3月1日披露的信息显示,截至2026年2月28日,招商银行的票据承兑余额为6113.63亿元,累计承兑发生额为2099.50亿元;票据逾期金额为50.48万元,累计逾期发生额为335.75万元。
记者了解到,除票据逾期外,招商银行多家分支机构被法院列入被执行人名单,对该行信誉造成负面影响。所谓被执行人就是败诉后的被告,在法定的上诉期满后或终审判决作出后,未履行法院判决或仲裁裁决,并进入执行程序的当事人。

图片来源:中国执行信息公开网
据中国执行信息公开网提供的信息显示,招商银行大连分行被大连市中山区人民法院立案执行,执行标的仅50元,立案时间2025年3月25日。本案于2025年6月24日终本执行,未履行金额50元,未履行比例100%。企查查显示,本案案由为“抵押合同纠纷案件执行”。
公开资料显示,终本执行是指法院的执行案件由于被执行人没有可供执行的财产,而裁定终结本次执行程序。根据相关规定,法院终结本次执行程序的必要条件为“已穷尽财产调查措施,未发现被执行人有可供执行的财产或者发现的财产不能处置”。

图片来源:中国执行信息公开网
2025年10月份,招商银行上海分行被上海市浦东新区人民法院立案执行,执行标的0元。企查查显示,该分行存在历史被执行人信息多达24条,被执行总金额301.32万元,涉及司法案件的案由包括租赁合同纠纷案件、劳动合同纠纷案件、追索劳动报酬纠纷案件等多个类型。
此前,据媒体报道,自2025年以来,招商银行旗下多家机构被法院立案执行,其中包括该行信用卡中心和重庆分行、上海分行等分支机构。

图片来源:中国执行信息公开网
2025年9月13日,重庆市巴南区人民法院对招商银行重庆分行立案执行,案号为(2025)渝0113执17030号。据了解,上述执行案件的被执行人有2名,分别为招商银行重庆分行和重庆龙湖凯晟房地产开发有限公司,被执行金额均为188.50万元。