
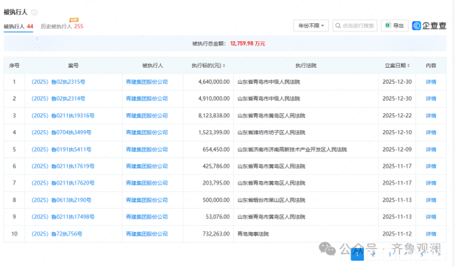
1月5日,企查查最新信息显示,青建集团股份公司新增两条被执行人信息,执行法院均为青岛市中级人民法院。其中一条执行标的491万元,案号为(2025)鲁02执2314号;另外一条执行标的464万元,案号为(2025)鲁02执2315号。


企查查信息显示,青建集团股份公司目前共有被执行人信息44条,被执行总金额为12759.98万元。该公司历史被执行人信息多达255条。

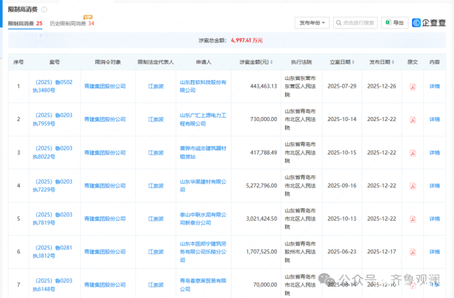
企查查信息还显示,青建集团股份公司目前有限制高消费信息25条,历史限制高消费信息34条。
此外,青建集团股份公司当前终本案件有37件,历史终本案件10件,裁判文书2406份。公司还被列入上海票据交易所公布的持续逾期名单。

青建集团股份公司官网介绍,该公司简称青建,始于1952年,主要从事国内外工程和基础设施建设、项目开发、产业投资、设计咨询、物流贸易、建筑工业化/数字化等业务。青建位列中国企业500强第365位,ENR全球最大250强国际承包商第90位,青岛百强企业第5位。

企查查显示,青建集团股份公司实际控制人为王从远,总持股比例为20.6185%,表决权比例为100%。
进一步在企查查搜索发现,青建集团股份公司大股东为国清控股集团有限公司,持股比例为99.95%。而国清控股集团有限公司的实际控制人也是王从远,他在该公司的总持股比例为20.622%,表决权比例为57.9036%。

青建集团股份公司官网“新闻中心”栏目显示,2025年11月7日,国清控股集团董事长、青建集团董事会主席王从远一行,拜访了莱索托首相萨姆·马特凯恩。而自2025年11月7日至今的近两个月时间里,青建集团股份公司官网一直没有王从远的公开活动信息。

(来源:齐鲁观澜)