
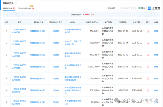
企查查信息还显示,青建集团股份公司目前有限制高消费信息25条,历史限制高消费信息34条。
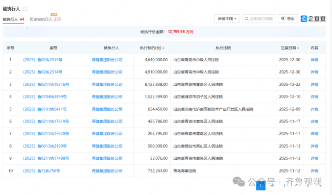
此外,青建集团股份公司当前终本案件有37件,历史终本案件10件,裁判文书2406份。公司还被列入上海票据交易所公布的持续逾期名单。

青建集团股份公司官网介绍,该公司简称青建,始于1952年,主要从事国内外工程和基础设施建设、项目开发、产业投资、设计咨询、物流贸易、建筑工业化/数字化等业务。青建位列中国企业500强第365位,ENR全球最大250强国际承包商第90位,青岛百强企业第5位。

企查查显示,青建集团股份公司实际控制人为王从远,总持股比例为20.6185%,表决权比例为100%。