山东
山东内容 国际表达
齐鲁大地 :
当前位置:山东频道首页 > 金融财经 > 商业 > 正文

山东银座置业被执行789万,法人刘连春已被限制高消费

山东银座置业被执行789万,法人刘连春已被限制高消费
2025-10-25 14:24:40 来源:中华网山东频道

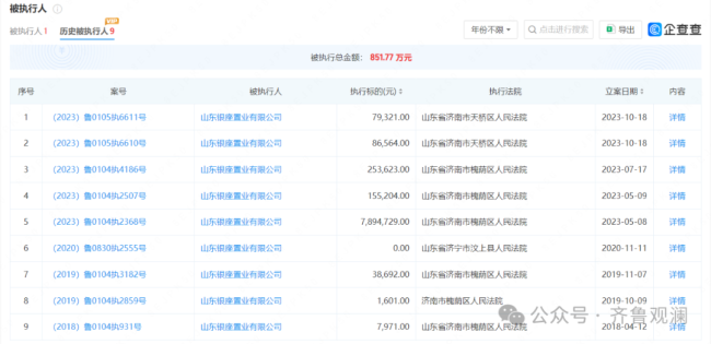
10月24日,企查查官网显示,山东银座置业有限公司日前新增一则被执行人信息,执行标的为789.47万元,立案日期为6月4日,执行法院为济南市槐荫区人民法院。同时,该公司及法定代表人刘连春已被限制高消费。

据企查查提供的信息显示,山东银座置业有限公司目前有9条历史被执行人信息,被执行总金额为851.77万元。

(来源:齐鲁观澜)

(责任编辑:董硕)
关键词:山东银座置业

为您推荐

下载中华网山东APP

联系方式

中华网新媒体 山东频道
互动/投稿邮箱:
shandong@zhixun.china.com
山东频道商务合作热线:0531—86666666