
企查查官网显示,截至10月24日,银座集团股份有限公司(股票名称:银座股份,股票代码:600858)本月新增6条被执行人信息。不过,这6条被执行人信息目前显示的执行标的均为0元。

银座集团股份有限公司上述6条被执行人信息的立案日期分别为10月15日、10月20日,执行法院均为济南市中级人民法院。

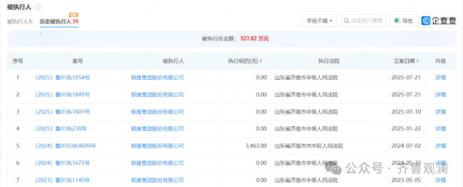
据企查查提供的信息显示,截至目前,银座集团股份有限公司共存在39条历史被执行人信息,被执行总金额527.82万元。其中,今年以来,该公司已累计被立案执行达10次之多,执行法院均为济南市中级人民法院。

(来源:齐鲁观澜)






























































