近日,有媒体报道涉嫌骗取医保资金事件的医院可能牵涉爱尔眼科及其实控人陈邦,将爱尔眼科推上了风口浪尖,为此爱尔眼科紧急发布澄清公告。记者经过进一步检索发现,爱尔眼科“足迹”几乎遍布山东,分公司覆盖了除青岛和潍坊外的14个市,而且进入2026年不到2个月,已经有3家医院因医保相关违规问题被处罚。
一、“风波”起因
近日,据报道,有记者以应聘护工的名义,先后卧底进入湖北襄阳宏安精神病医院和湖北宜昌夷陵康宁精神病医院。在这两家精神病医院,记者发现许多住院病人看起来并无明显精神异常,其中还有不少老年人。有医护人员直言有些人住进来就是为了养老。

襄阳宏安精神病医院住院的病人正在打“掼蛋”
襄阳市医疗保障局工作人员告诉记者,已组织专班调查,对违规骗保行为将严格依法依规处理。襄阳市专项工作联合调查专班2月3日发布情况通报称:“2月3日上午,媒体报道我市存在精神病院违规收治患者、涉嫌套取医保资金等问题后,我市高度重视,立即成立工作专班,在全市开展起底式排查调查,一旦核实相关问题将依法从严从速处理。”

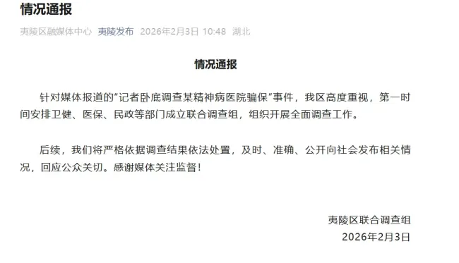
宜昌市夷陵区联合调查组发布通报称,“针对媒体报道的‘记者卧底调查某精神病医院骗保’事件,我区高度重视,第一时间安排卫健、医保、民政等部门成立联合调查组,组织开展全面调查工作。后续,我们将严格依据调查结果依法处置,及时、准确、公开向社会发布相关情况,回应公众关切。感谢媒体关注监督!”

2月5日晚间,据新闻报道,湖北襄阳、宜昌多家精神病院涉嫌骗取医保资金事件可能牵涉爱尔眼科及其实控人陈邦。该新闻称:公开资料显示,襄阳恒泰康医院于2019年开业,位于襄阳市高新区,该医院为二级精神专科医院。

记者进一步梳理发现,襄阳恒泰康医院隶属于恒泰康康复医疗集团,与A股上市公司爱尔眼科同属于爱尔医疗健康集团。据官网,湖南恒泰康康复医疗产业发展有限公司成立于2016年5月,由爱尔医疗投资集团控股,旗下有20家连锁精神病康复医院,其最终实控人为陈邦。

二、紧急澄清
随后,爱尔眼科紧急发布通告,为避免相关传闻对广大投资者及社会公众造成误导,切实维护投资者合法权益,公司现就有关情况澄清说明如下:

公开资料显示,陈邦出生于1965年,湖南大学兼职MBA导师,系爱尔眼科创始人,历任长沙爱尔眼科医院副董事长、长沙爱尔眼科医院集团副董事长、爱尔眼科医院集团董事长,同时也是爱尔医疗投资集团执行董事、爱尔眼科董事长。陈邦先后涉足房地产、文化传播、医疗等多个领域,如今是在民营眼科领域知名度极高的企业家。

爱尔眼科创立于2002年,医疗网络布局亚洲、欧洲和北美洲,于2009年在深交所创业板上市。截至2025年6月30日,爱尔眼科品牌医院、眼科中心及诊所在全球范围内共有976家,其中中国内地807家、中国香港9家、美国1家、欧洲141家、东南亚18家。

财报数据显示,2025年前三季度,爱尔眼科营收为174.84亿元,同比增长7.25%,归母净利润为31.15亿元,同比下降9.76%。据Wind数据统计,这是自2009年有披露的数据以来,三季报首次出现负增长。
三、爱尔眼科布局山东14市
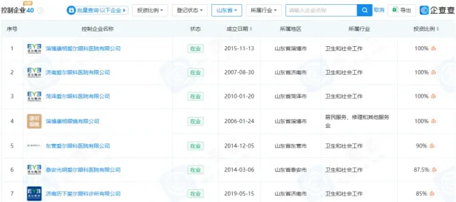
经查询爱尔眼科医院集团股份有限公司对外投资的企业中,在山东的有19家在营企业,分别为淄博康明爱尔眼科医院有限公司、济南爱尔眼科医院有限公司、德州爱尔眼科医院有限公司、东营爱尔眼科医院有限公司、泰安光明爱尔眼科医院有限公司、烟台爱尔眼科医院有限公司、滨州沪滨爱尔眼科医院有限公司、聊城爱尔眼科医院有限公司、泰安爱尔眼科医院有限公司、临沂爱尔眼科医院有限公司、枣庄爱尔眼科医院有限公司、莱芜爱尔眼科医院有限公司、济宁任城爱尔眼科医院有限公司、威海爱尔眼科医院有限公司、日照爱尔眼科医院有限公司、菏泽爱尔眼科医院有限公司、新泰爱尔眼科医院有限公司、莱阳爱尔眼科医院有限公司、邹平爱尔眼科医院有限公司。

记者在企查查查询还可以看到,爱尔眼科医院集团股份有限公司包含上述投资企业在内,共有38家位于山东的控制企业,以上企业的“足迹”覆盖了山东大部分地区,除了潍坊和青岛之外其他市均有其分公司。

四、爱尔眼科山东多家医院因“医保相关违规”被处罚
记者经过进一步核查发现,爱尔系在山东的多家眼科医院近期曾因医保相关违规问题被处罚。

2026年1月12日,由爱尔眼科直接持股70%的新泰爱尔眼科医院有限公司,因“将不属于医疗保障基金支付范围的医药费用纳入保障基金结算”被罚款3838.12元。

2026年1月19日,由爱尔眼科持股80%的滨州沪滨爱尔眼科医院有限公司,因2023年存在重复收费造成医保基金损失的行为,被罚款8965.17元。


2026年1月23日,爱尔眼科持股57%的枣庄爱尔眼科医院有限公司因“违规使用医保基金”被罚1288.18元。


(来源:财经生活帮)





























































